首页 | 收藏本站 | 免费注册|申请VIP会员|固定排名|广告服务
中国电气自动化网首页
PLC | 电  机 | 变 频 器 | 人机界面 | 运动伺服 | 控制传动 | 自动化软件
DCS | 传感器 | 通信网络 | 现场总线 | 数据采集 | 电气开关 | 数传测控
电源 | 嵌入式 | 仪器仪表 | 低压电器 | 机器视觉 | 工业安全 | 工控机
模具 | 电线电缆 | 电子元件 | 成套设备 | 液压气动 | 制 冷
机床 | 电力能源 | 机械设备 | 石油化工 | 矿业冶金 | 水工业
物流 | 轨道交通 | 汽车电子 | 工程机械 | 输 配 电 | 电 梯
产品 企业 供求 新闻
下载 视频 招聘 期刊 会展 培训 库存 论坛 访谈 维修  
热词:嵌入式 传感器 电源 主板 工控机 PLC 人机界面 变频器

您现在的位置:中国电气自动化网首页 >> 文库首页>>详细信息

计为防腐磁翻板液位计连接小管的内衬是如何加工的 
(发布日期:2019-12-5 15:13:51) 来源:
 
   

  在工业生产过程中,当测量被储存在类似槽、罐等形状的容器中具有腐蚀性液体的液位时,大多数厂家会选用防腐磁翻板液位计进行测量。但由于各个厂家加工工艺和所用材质的不同,所生产的防腐磁翻板液位计的防腐效果差别很大,而这些差别大多是由防腐磁翻板液位计连接小管内衬的不同加工工艺所导致的。下面,就以计为防腐磁翻板液位计为例,介绍下连接小管的内衬是如何加工的。

计为防腐磁翻板液位计连接小管的内衬是如何加工的

  一、传统防腐磁翻板液位计连接小管内衬工艺的不足
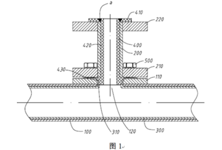
  传统防腐磁翻板液位计的连接小管一般采用内衬聚四氟乙烯进行加工。其主浮筒管的内衬是采用最新的拉伸翻边工艺,在浮筒管内表面紧衬一层聚四氟乙烯管材,两端进行翻边压紧在法兰的密封面上,使浮筒内壁与介质隔离,从而达到防腐的效果。
  为方便与过程连接相连接,通常在靠近两端口处需在四氟管面上拉伸出一个虎口形状,形成三通结构。对该法兰过程连接部分的内衬,国内很多厂家采用聚四氟乙烯棒料进行车削加工,然后将其穿过过程连接法兰小管,通过拉伸翻边获得锥形密封结构,最后用螺杆固定到主浮筒上。但由于聚四氟乙烯耐蠕变性能不好,容易产生冷流现象,用聚四氟乙烯面与聚四氟乙烯面的直接挤压进行密封,时间一久,易引起泄漏,使得防腐效果很不理想。
  二、计为防腐磁翻板液位计连接小管的内衬是如何加工的
  为改变上述不足,计为自动化工程师们经过查阅并分析相关材料的特性后发现,聚全氟乙丙烯的耐蠕变性能比聚四氟乙烯好,使用聚全氟乙丙烯制成的锥形内衬与聚四氟乙烯相配合密封时,它的回弹性可以弥补聚四氟乙烯的弹性不足,从而保证可靠密封,于是确定采用聚全氟乙丙烯材料。

  但是在实施的过程中,聚全氟乙丙烯塑料的模压工艺非常复杂,制品易开裂和产生气泡,不易控制。为解决该问题,在计为公司研发人员的努力下,经过对材料的性能进行认真分析和研究,成功开发出聚全氟乙丙烯塑料的焊接工艺,从而克服了FEP粒料模压容易产生气泡、开裂等难题,提高了内衬的成功率,取得了较好的防腐效果。计为自动化现已就该创新申请了发明专利,申请号为:201710919511.7。

计为防腐磁翻板液位计连接小管的内衬是如何加工的

  该发明专利公开了一种防腐磁翻板液位计中对过程连接法兰和小管内衬的加工方法。具体有如下步骤:
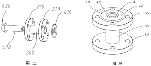
  1、将小管与两片法兰焊接起来制成过程连接体,此小管与两片法兰通常为304不锈钢或其他金属材质;再将事先已注塑成形的FEP塑料带锥形头圆管穿过法兰过程连接小管,该锥形头圆管稍高出另一头法兰密封面;如图二所示。
  2、使用一片FEP材质的圆环平垫压紧在圆管突出的这面法兰上,锥形头圆管与FEP圆环平垫相配合的面需要倒角形成“V”形槽;用专用夹具将FEP圆管锥形头与圆环平垫压紧在过程连接法兰的两面,如图三所示。
  3、进行完前面的操作后,焊接就是接下来的重点。焊接时使用PFA可熔聚四氟乙烯焊条,先用热风焊枪对需要焊接的部位进行预热,然后再将焊条对准到前面所描述的“V”形槽处,用热风焊枪将该部位的焊条和连接面进行熔焊,一边用焊枪熔焊一边用力压住焊条,使被焊接面焊透焊牢。
  4、最后一步,待焊接部分完全冷却后,进行车削使焊接面平整。
  内衬防腐磁翻板液位计适应于大多数强酸、强碱、有机溶剂等腐蚀性液体介质的测量,该工艺的成功应用,使产品的可靠性大为提高,产品的使用周期得以延长,生产的稳定进行得到了保障。
  以上就是“计为防腐磁翻板液位计连接小管的内衬是如何加工的”的相关介绍,如欲了解更多物位开关(料位开关、液位开关)、物位计(料位计、液位计)等物位测量仪表方面的知识,欢迎关注微信公众号:Jiweimeter。
(信息摘自:http://www.jiweimeter.com/yfshow-23-968-1.html,转载请注明出处。)

 
深圳计为自动化技术有限公司
所在区域: 广东.深圳 邮编: 518173
公司地址: 深圳市龙岗区横岗街道龙岗大道3162号宝丽商务楼5楼 联系人:李先生 先生 (业务)
办公电话: 0755-28407683 传真: 空
移动电话: 13427967309 电邮: 登录查看或通过本网留言
公司主页: http://www.jiweimeter.cn/
通过中国电气自动化网在线联系该用户:
关于:
需求意向:
* 验证码: 点击可刷新
 
用户: 密码:  
如果您还不是中国电气自动化网(www.ea-china.com)的注册用户,立刻免费注册

   企业新闻 更多
· 皮尔磁:狭小空间防护,安全高效一...
· 皮尔磁:亮点抢先看!皮尔磁登陆2...
· 皮尔磁:IO-Link Safe...
· 皮尔磁即将亮相2026汉诺威工博...
· 皮尔磁:轻松实现废水回收系统的全...
· 皮尔磁信息安全咨询现采用标准CS...
· 皮尔磁:轻松实现光栅屏蔽功能的小...
· 皮尔磁入选《德国家族企业的秘密》...
  产品新闻 更多
· 皮尔磁:高可用性安全传感器,让设...
· 皮尔磁参展interpack 2...
· 皮尔磁:重型货架上层物料存取防撞...
· 皮尔磁:安全PLC的升级:不换代...
· 皮尔磁:安全毫米波技术:重新定义...
· 皮尔磁:ISO14119防止安全...
· 皮尔磁:从标准到实践的计算桥梁...
· 皮尔磁:理解安全认证与标准:全球...

广告服务 | 关于我们 | 网站地图 | 分类索引 | 服务条款 | VIP会员服务 |《电气自动化企业大全》| 版权声明

客服专线:0898-68552405     媒体合作QQ:910167442
中国电子商务服务联盟成员单位 琼ICP备17003754号
中国电气自动化网 版权所有 © Copyright By Electric Automation of China